600840 000037 stratus esg installation instructions experimental rev. February 20 2018 page 6 of 45.
A Amp P Bundle With Stratus Esg
Stratus esg wiring diagram. Stratus 3 pilots guide. 600845 000024 stratus esg instructions for continued airworthiness 600890 000049 stratus esg pilots guide 601837 000024 stratus esg installation and wiring drawings. Installing stratus power 3wiring stratus power the installer must supply 20 24 gauge wiring and install it in accordance with faa ac 4313 1b and ac 4313 2b. 600840 000031 stratus esg installation instructions rev. Stratus esesg limited warranty. Since the very first stratus product was introduced weve remained focused on delivering innovative new ways to give pilots easy and affordable situational awareness.
Universal stratus transponder wiring harness diagram. Stratus 1s and 2s portable receiver pilots guide. Squawk codes 7500 hijacking 7600 radio failure and 7700 emergency are reserved for emergencies. The installer must also supply a circuit protective device for use with stratus poweruse a 2a. January 6 2016 page 9 of 42. Stratus power figure 2.
Stratus products are designed and built by pilots for pilots. And were always working on new products to deliver safety and simplicity to your cockpit. The only hardware not supplied was a standard rg400 cable and fittings to connect the gps antenna to the stratus esg itself. Stratus esesg installation drawings and wiring diagrams. Stratus esesg pilots guide. And that made sense since cable lengths vary from one installation to the next.
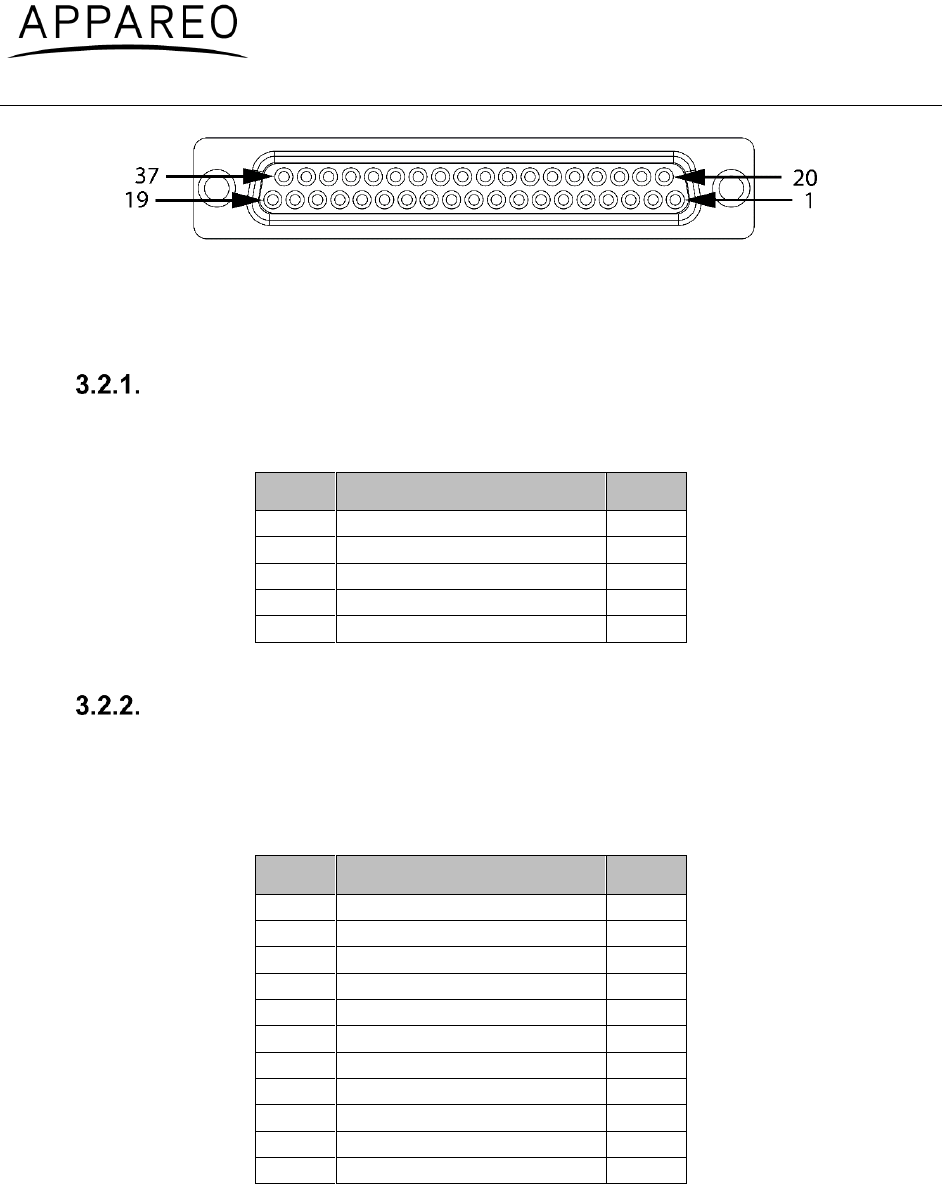
Wire length and routing will vary by installation. Installing the stratus esg required repositioning the existing altitude encoder and wiring a new 37 pin connector. Stratus esg installation instructions experimental material and workmanship for a period of time as indicated in the chart below from the. Interface kit installation guide. Stratus 2i pilots guide. May 9 2016 page 2 of 52 stratus esg.
Warnings the pilot must read the stratus esesg pilots guide 600890 000049 before their first flight. Stratus esesg service bulletins. 600840 000031 stratus esesg installation instructions rev. 21112018 21112018 5 comments on stratus esg wiring diagram the stratus esg is the first faa certified transponder from appareo a north the page installation manual was clear and concise.













